Cara Menghitung Nilai Akhir Semester Mahasiswa

Jan 28, 2021

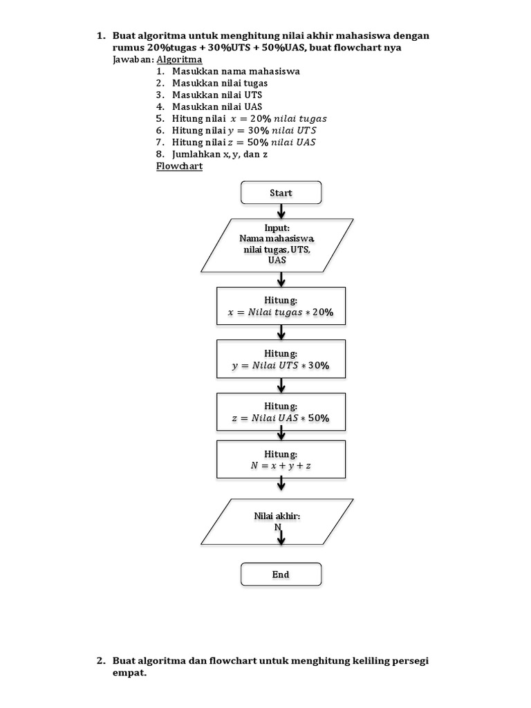
Blog Oke Riki: Perhitungan Persentase Penilaian Akhir Mahasiswa Cara Menghitung IP dan IPK dengan Excel | cara aimyaya | Cara … Blog Oke Riki: Perhitungan Persentase Penilaian Akhir Mahasiswa Program Menghitung Nilai Akhir Semester Dengan Pascal Menghitung Nilai Raport Siswa berdasarkan Nilai Tugas dan Ujian … Membuat Program Perhitungan Nilai Akhir dengan PHP - WebHozz Blog Cara Menghitung Nilai IP Dan IPK Algoritma dan Program (C++) Menghitung Nilai Akhir Semester … Membuat Program Perhitungan Nilai Akhir dengan PHP - WebHozz Blog Aplikasi Sederhana Menghitung Nilai Ujian Mahasiswa Menggunakan … Cara Menghitung IPK Sebagai Strategi Belajar - Tambah Pinter Cara Menghitung IP dan IPK dengan Excel | cara aimyaya | Cara … Refresh C++ : Program Untuk Menghitung Nilai Akhir Mahasiswa | ADR … program menghitung nilai akhir mahasiswa menggunakan c++ - Pulti Opok Source Code Program Menghitung Nilai Mahasiswa dalam Pascal … Flowchart program menghitung nilai akhir mahasiswa berdasarkan … Cara Menghitung IPK - Pengertian, Pengaruh, Rumus, Cara Berhitung IPK Cara Menghitung IPK Sebagai Strategi Belajar - Tambah Pinter Tugas1-Program Menghitung Nilai Mahasiswa Cara menghitung nilai Indeks Prestasi Mahasiswa (IP & IPK) - Ilmu … Cara Menghitung IPK Dan Nilai IP (Indeks Prestasi) Kuliah Cara Membuat Program Menghitung Nilai Grade Akhir Mahasiswa Dengan … LKP Hansnet: Formula fungsi IF untuk menghitung nilai mahasiswa di … Aplikasi Sederhana Menghitung Nilai Ujian Mahasiswa Menggunakan … Aplikasi Sederhana Menghitung Nilai Ujian Mahasiswa Menggunakan … MENCARI NILAI AKHIR MAHASISWA MENGGUNAKAN EXCEL. Cara Menghitung IP & IPK dengan Mudah, dalam 1 Menit (TERBUKTI … Aplikasi Sederhana Menghitung Nilai Ujian Mahasiswa Menggunakan … Belajar Microsoft Excel 2016: Membuat Rumus Pembobotan Penilaian … Contoh Program Sederhana Menghitung Nilai Mahasiswa Menggunakan … Cara Membuat Daftar Nilai Lengkap dengan Rumus Jumlah, Rata rata … ANALISIS PENGGUNAAN MESIN PENGHITUNG NILAI ~ Fira Ramadhany Menghitung Nilai Akhir Memakai Function dan Procedure | qoriivodewanty Flowchart program menghitung nilai akhir mahasiswa berdasarkan … Java NetBeans Project_Menampilkan Nilai Mahasiswa – eufrondweb Cara Menghitung IPK Mahasiswa Lengkap dengan Tabel Perhitungan Cara Membuat Program Menghitung Nilai Akhir Mahasiswa Dengan … Contoh Program Sederhana Menghitung Nilai Mahasiswa Menggunakan … Cara Menghitung IP dan IPK dengan Excel | cara aimyaya | Cara … Menghitung Nilai Akhir Mahasiswa Dengan Java Netbeans - ekoninjarr Mengenal Sistem Nilai dan SKS di Bangku Kuliah Bimbel STAN C++ : Perhitungan Nilai Akhir Dengan Model Function – Muhammad Niko Project Aplikasi Menghitung Nilai dan IPK dengan Pemrograman Java … Cara Menghitung IP dan IPK dengan Excel | cara aimyaya | Cara … MODUL LATIHAN PEMOGRAMAN PROGRAM MENCARI NILAI AKHIR MAHASISWA … Tutorial Membuat Program Untuk Menghitung Nilai Akhir Mahasiswa … Cara Menghitung IP dan IPK dengan Excel | cara aimyaya | Cara … Aplikasi Sederhana Menghitung Nilai Ujian Mahasiswa Menggunakan … Program Java GUI Menghitung Nilai Mahasiswa Dengan Netbeans … Program Java GUI Menghitung Nilai Mahasiswa Dengan Netbeans … Bagaimana Cara Menghitung IPK? Ini Dia Rumusnya! | Rencanamu Menghitung Nilai Akhir Memakai Function dan Procedure | qoriivodewanty Cara Menghitung IP dan IPK dengan Excel | cara aimyaya | Cara … Membuat Program Perhitungan Nilai Akhir dengan PHP - WebHozz … PDF) Menentukan Nilai Akhir Kuliah dengan Fuzzy C-Means welcome: Menghitung nilai Mahasiswa dengan javascript/html Penjelasan : akademik.pnj.ac.id : Akademik dan Kemahasiswaan Cara Menghitung IP dan IPK dengan Excel | cara aimyaya | Cara … MENGHITUNG NILAI AKHIR MAHASISWA DAN MEMBERI NILAI HURUF … Cara Menghitung Nilai Rata Rata Uan – IlmuSosial.id FORMULA VLOOKUP PADA EXCEL Cara Menghitung IP dan IPK dengan Excel | cara aimyaya | Cara … 4 Cara untuk Menghitung Nilai Akhir - wikiHow my blog: Rumus dan Cara Menghitung IP Semester IPK Akhir Aplikasi Kalkulator Nilai Pelajaran (dengan Angular dan … Cara Menghitung Nilai Rata-Rata (Average) Dengan Microsoft Excel MENGHITUNG NILAI AKHIR MAHASISWA DAN MEMBERI NILAI HURUF … Pengantar Statistika 2 Program Nilai Mahasiswa Menggunakan Select Case di VB - DANISH. F 1. Buat algoritma untuk menghitung nilai akhir mahasiswa dengan … Bimbel STAN Cara Menghitung Nilai Rata Rata Rapor Sma – IlmuSosial.id Membuat Daftar Nilai #2 Mahasiswa dengan Excel - YouTube Share]Program Hitung Nilai Akhir Mahasiswa Menggunakan PHP … Aplikasi Kalkulator Nilai Pelajaran (dengan Angular dan … Cara Membuat Perhitungan Nilai Raport Menggunakan Excel | Belajar … Program Menghitung IPK Mahasiswa Dengan Bahasa C - Kopi Coding Mahasiwa Wajib Tau! Cara Menghitung IPK pada Sistem SKS Cara Membuat Program Menghitung Nilai Akhir Mahasiswa Dengan … Program pascal (menghitung nilai semester … - Asep Jaenudin Blog Cara Menghitung Nilai Rata Rata Uan – IlmuSosial.id MEMBUAT PROGRAM NILAI AKHIR MAHASISWA DENGAN DELPHI 4 Cara untuk Menghitung Nilai Akhir - wikiHow Anuitas Biasa (Matematika Keuangan) Cari tau seputar IP dan IPK Telkom University - Students Tel-U … siado:nilai [Wiki Universitas Brawijaya] Cara Membuat Program Menghitung Nilai Akhir Mahasiswa Dengan … Cara Membuat Program Java Menghitung Nilai Mahasiswa - JavaSC … Cara Menghitung Nilai Rata-Rata (Average) Dengan Microsoft Excel Bimbel STAN Java NetBeans Project_Menampilkan Nilai Mahasiswa – eufrondweb Cara Menghitung Nilai Rata Rata Raport – IlmuSosial.id Project Aplikasi Menghitung Nilai dan IPK dengan Pemrograman Java … Membuat Program Menghitung Nilai Akhir Mahasiswa Dengan HTML dan … 4 Cara untuk Menghitung Nilai Akhir - wikiHow Cara Menghitung INDEKS PRESTASI SEMESTER / KUMULATIF (IPS-IPK … Cara Menghitung Nilai Rata-Rata (Average) Dengan Microsoft Excel Belajar Microsoft Excel 2016: Membuat Rumus Pembobotan Penilaian …

Materi Lingkaran Sma

Gambar Lingkungan Rumah Bersih